染色机用均流型导布管发明介绍
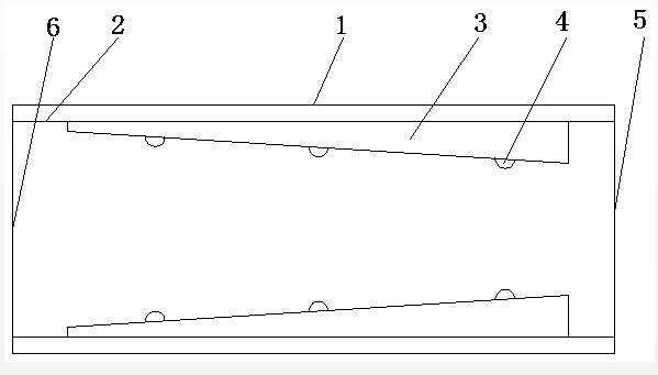
惠泽染色机公司发明公开了一种实用新型染色机用均流型导布管,包括:管体,所述管体内设有内腔,所述内腔上设置有多个均流斜块,所述均流斜块的横截面高度逐渐递增,所述均流斜块位于管体出口端的横截面高度大于位于管体进口端的横截面高度,所述均流斜块的上还设置有多个稳流凸块。通过上述方式,本实用新型染色机用均流型导布管,能够保证管内布匹运行平顺,结构简单,使用稳定,安全可靠。
This utility model discloses a dyeing machine and has led the stringing with the type that flow equalizes, includes: the body, is equipped with the inner chamber in the said body, is provided with a plurality of sloping blocks that flow equalize on the said inner chamber, and the cross section height of the said sloping block that flow equalizes scales up gradually, and the cross section height that the said sloping block that flow equalizes is located the body exit end is greater than the cross section height that is located the body entrance point, also is provided with a plurality of stationary flow lugs on the said sloping block that flow equalizes.
Through above-mentioned mode, the stringing is led with the type that flow equalizes to this utility model dyeing machine, can guarantee that the operation of intraductal cloth is smooth-going, and the structure is simple, uses stably, safe and reliable.
来源声明:以上内容部分(包含图片、文字)来源于网络,如有侵权,请及时与本站联系(+86-15190290101)。
如没特殊注明,文章均为惠泽染机公司原创


当前位置: