高温双环松式染色机发明介绍
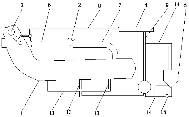
惠泽染色机发明公开了一种实用新型高温双环松式染色机,包括:染缸和导布管,所述染缸内设置有提布轮,所述导布管连接在染缸上,并且一端接近于提布轮,所述染缸上连接有热交换器和化料筒,所述导布管包括第一管体和第二管体一体连接成型,所述第二管体的管径大于第一管体的管径。通过上述方式,本实用新型高温双环松式染色机,能够增加织物循环次数,染色更充分均匀,节能环保,安全可靠。
本实用新型主要解决的技术问题是提供一种高温双环松式染色机,能够增加织物循环次数,染色更充分均匀,节能环保,安全可靠。
为解决上述技术问题,本实用新型采用的一个技术方案是:提供一种高温双环松式染色机,包括:染缸和导布管,所述染缸内设置有提布轮,所述导布管连接在染缸上,并且一端接近于提布轮,所述染缸上连接有热交换器和化料筒,所述导布管包括第一管体和第二管体一体连接成型,所述第二管体的管径大于第一管体的管径。
在本实用新型一个较佳实施例中,所述热交换器一端通过第一管道连接在染缸的上端,另一端通过第二管道连接在染缸的下端,所述第二管道上设置有主泵。
在本实用新型一个较佳实施例中,所述染缸下端设置有第三管道、第四管道和第五管道,所述第三管道、第四管道和第五管道与第二管道相连通。
在本实用新型一个较佳实施例中,所述化料筒一端通过第六管道连接到主泵的上端,另一端通过第七管道路连接在主泵下端,所述第七管道上连接有辅助泵。
本实用新型的有益效果是:本实用新型高温双环松式染色机,能够增加织物循环次数,染色更充分均匀,节能环保,安全可靠。

图1是本实用新型高温双环松式染色机一较佳实施例的结构示意图;
附图中各部件的标记如下:1、染缸,2、导布管,3、提布轮,4、热交换器,5、化料筒,6、第一管体,7、第二管体,8、第一管道,9、第二管道,10、主泵,11、第三管道,12、第四管道,13、第五管道,14、第六管道,15、第七管道,16、辅助泵。
来源声明:以上内容部分(包含图片、文字)来源于网络,如有侵权,请及时与本站联系(+86-15190290101)。
如没特殊注明,文章均为惠泽染机公司原创


当前位置: