染色机用加热型储液槽发明介绍
惠泽染色机发明公开了一种实用新型染色机用加热型储液槽,包括:筒体,所述筒体的上部设置有至少一个进料口,下部设置有出料口,所述出料口的上方设置有过滤网,所述进料口的下方设置有加热装置,所述加热装置位于过滤网的上方,所述加热装置包括封闭加热管路,所述封闭加热管路两端伸出于筒体,并与加热源相连接。通过上述方式,本实用新型染色机用加热型储液槽,能够提高染液纯净度,防止杂物附着在织物表面以及堵塞喷嘴。
染色机用加热型储液槽
技术领域
本实用新型涉及染色机领域,特别是涉及一种染色机用加热型储液槽。
背景技术
溢流染色机的储液槽是用来储存即将进入染槽内用来染色的染液,所以就要求其储存的染液的纯净度要高。储液槽上有与染色筒相连的进液口,与化料缸相连的进液口以及与输液管道相连的出液口,从与化料缸相连的进液口进入染槽的染液容易混入未溶解的固体染料和各种杂质,从与染色筒相连的进液口进入染槽的染液容易混入从染色织物上脱落的纤维等等,这些固体杂质若进入染槽,一来会污染染液,影响染色质量,二来从出液口输出后会附着在织物表面或堵塞喷嘴,使得织物出现瑕疵甚至影响染色机的正常运转。
发明内容
本实用新型主要解决的技术问题是提供一种染色机用加热型储液槽,能够提高染液纯净度,防止杂物附着在织物表面以及堵塞喷嘴。
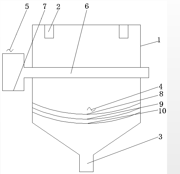
为解决上述技术问题,本实用新型采用的一个技术方案是:提供一种染色机用加热型储液槽,包括:筒体,所述筒体的上部设置有至少一个进料口,下部设置有出料口,所述出料口的上方设置有过滤网,所述进料口的下方设置有加热装置,所述加热装置位于过滤网的上方,所述加热装置包括封闭加热管路,所述封闭加热管路两端伸出于筒体,并与加热源相连接。
在本实用新型一个较佳实施例中,所述封闭加热管路呈波浪形加热管路,所述加热源为电机热器,所述封闭加热管路内部装有水。
在本实用新型一个较佳实施例中,所述过滤网包括从上到下依次设置的粗滤网、中间活性炭层和细滤网。
在本实用新型一个较佳实施例中,所述过滤网的横截面呈圆弧形。
在本实用新型一个较佳实施例中,所述进料口的数量为2个,2个进料口对称设置在筒体的左右两侧。
本实用新型的有益效果是:本实用新型染色机用加热型储液槽,能够提高染液纯净度,防止杂物附着在织物表面以及堵塞喷嘴。
附图说明
为了更清楚地说明本实用新型实施例中的技术方案,下面将对实施例描述中所需要使用的附图作简单地介绍,显而易见地,下面描述中的附图仅仅是本实用新型的一些实施例,对于本领域普通技术人员来讲,在不付出创造性劳动的前提下,还可以根据这些附图获得其它的附图,其中:
图1是本实用新型染色机用加热型储液槽一较佳实施例的结构示意图;

附图中各部件的标记如下:1、筒体,2、进料口,3、出料口,4、过滤网,5、加热装置,6、封闭加热管路,7、加热源,8、粗滤网,9、中间活性炭层,10、细滤网。
来源声明:以上内容部分(包含图片、文字)来源于网络,如有侵权,请及时与本站联系(+86-15190290101)。
如没特殊注明,文章均为惠泽染机公司原创


当前位置: