液流式自动碱减量机发明介绍
惠泽染色机公司发明公开了一种本实用新型液流式自动碱减量机,包括:碱槽、过滤槽、碱液回收槽和热交换器,所述热交换器的一端与碱槽相连通,另一端与碱液回收槽相连通,所述碱槽与过滤槽相连通,所述过滤槽一端与碱液回收槽相连通,另一端连通在碱液回收槽和热交换器之间。通过上述方式,本实用新型液流式自动碱减量机,能够减少原料消耗,提高效率,结构简单,使用方便,安全可靠。
液流式自动碱减量机
技术领域
本实用新型涉及碱减量机领域,特别是涉及一种液流式自动碱减量机。
背景技术
碱减量机是改善涤纶长丝的表面形态和内在性能,提高纤维的可曲绕性,柔软性悬垂性、抗静电性,并减轻织物起毛、起球倾向,改善吸水亲水性,减少极光,使织物性能更接近毛织物和真丝织物产品的一种专用机器。目前染整行业使用的碱减量机有两种形式,间歇式和连续式,它们都能满足工艺和织物最终效果,两种机型的区别在于效率的高低,其根本的缺陷是都耗大量的水,这是因为机器的结构,工作要求必须使织物完全浸泡在碱液中,使得浴比很大,也造成了碱回收的难度,增加了污水处理的费用和生产成本。
发明内容
本实用新型主要解决的技术问题是提供一种液流式自动碱减量机,能够减少原料消耗,提高效率,结构简单,使用方便,安全可靠。
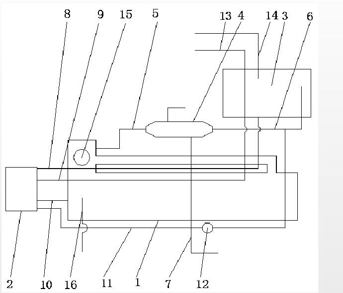
为解决上述技术问题,本实用新型采用的一个技术方案是:提供一种液流式自动碱减量机,包括:碱槽、过滤槽、碱液回收槽和热交换器,所述热交换器的一端与碱槽相连通,另一端与碱液回收槽相连通,所述碱槽与过滤槽相连通,所述过滤槽一端与碱液回收槽相连通,另一端连通在碱液回收槽和热交换器之间。
在本实用新型一个较佳实施例中,所述热交换器通过第一管路与碱槽相连通,通过第二管路与碱液回收槽相连通,所述热交换器上还连接有排水管路。
在本实用新型一个较佳实施例中,所述过滤槽通过第三管路和第四管路与碱液回收槽相连通,通过第五管路与碱槽相连通,通过第六管路连通到第二管路上,所述第六管路上设置有主泵。
在本实用新型一个较佳实施例中,所述碱液回收槽上连接有进碱管路和进水管路,所述进碱管路与第四管路相连通。
在本实用新型一个较佳实施例中,所述碱槽内部设置有提布轮,所述碱槽上还连接有溢流管路。
本实用新型的有益效果是:本实用新型液流式自动碱减量机,能够减少原料消耗,提高效率,结构简单,使用方便,安全可靠。
附图说明
为了更清楚地说明本实用新型实施例中的技术方案,下面将对实施例描述中所需要使用的附图作简单地介绍,显而易见地,下面描述中的附图仅仅是本实用新型的一些实施例,对于本领域普通技术人员来讲,在不付出创造性劳动的前提下,还可以根据这些附图获得其它的附图,其中:
图1是本实用新型液流式自动碱减量机一较佳实施例的结构示意图;

附图中各部件的标记如下:1、碱槽,2、过滤槽,3、碱液回收槽,4、热交换器,5、第一管路,6、第二管路,7、排水管路,8、第三关路,9、第四关路,10、第五管路,11、第六管路,12、主泵,13、进碱管路,14、进水管路,15、提布轮,16、溢流管路。
来源声明:以上内容部分(包含图片、文字)来源于网络,如有侵权,请及时与本站联系(+86-15190290101)。
如没特殊注明,文章均为惠泽染机公司原创


当前位置: