染色机用稳流导布管发明介绍
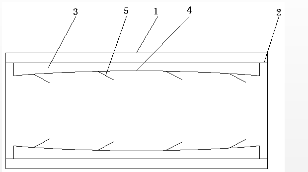
惠泽染色机公司发明公开了一种实用新型染色机用稳流导布管,包括:管体,所述管体内设有内腔,所述内腔上设置有多个稳流支座,所述稳流支座底部贴合设置在内腔上,稳流支座的上端设置有稳流板,所述稳流板上设置有多个阻流板,所述阻流板和稳流板呈倾斜状设置。通过上述方式,本实用新型染色机用稳流导布管,能够保证管内布匹运行平顺,结构简单,使用稳定,安全可靠。
染色机用稳流导布管
技术领域
本实用新型涉及染色机领域,特别是涉及一种染色机用稳流导布管。
背景技术
高温高压染色机是指染色温度在130~135℃之间,染色压力在0.3MPa左右的染色机。高温高压染色机包括主筒、导布管和泵,导布管和主筒首尾连通构成了布匹的循环回路。布匹染色漂洗的过程,就是布匹随着被泵驱动的染液水流从导布管到主筒、再从主筒到导布管循环回流的过程。导布管是布匹染色、漂洗的通道之一。现有技术的高温高压染色机的导布管的管腔的横截面为圆形,布匹在导布管内染色漂洗过程中,圆形的导布管容易使得管内的染液水流打旋,导致随着染液水流漂洗的布匹打转起捻甚至打结,这样,布匹染色均匀性差,而且在导布管内运行不平顺。
发明内容
本实用新型主要解决的技术问题是提供一种染色机用稳流导布管,能够保证管内布匹运行平顺,结构简单,使用稳定,安全可靠。
为解决上述技术问题,本实用新型采用的一个技术方案是:提供一种染色机用稳流导布管,包括:管体,所述管体内设有内腔,所述内腔上设置有多个稳流支座,所述稳流支座底部贴合设置在内腔上,稳流支座的上端设置有稳流板,所述稳流板上设置有多个阻流板,所述阻流板和稳流板呈倾斜状设置。
在本实用新型一个较佳实施例中,所述稳流板的横截面呈圆弧形,并且向内腔内壁呈凹陷状。
在本实用新型一个较佳实施例中,所述稳流支座绕内腔的中心呈间隔均匀分布,所述稳流支座的数量至少为2个。
在本实用新型一个较佳实施例中,所述阻流板均匀间隔设置在稳流板上,所述阻流板的数量至少为4个。
在本实用新型一个较佳实施例中,所述管体为内部呈中空状的圆柱形管体,所述内腔的横截面呈圆形。
本实用新型的有益效果是:本实用新型染色机用稳流导布管能够保证管内布匹运行平顺,结构简单,使用稳定,安全可靠。
附图说明
为了更清楚地说明本实用新型实施例中的技术方案,下面将对实施例描述中所需要使用的附图作简单地介绍,显而易见地,下面描述中的附图仅仅是本实用新型的一些实施例,对于本领域普通技术人员来讲,在不付出创造性劳动的前提下,还可以根据这些附图获得其它的附图,其中:
图1是本实用新型染色机用稳流导布管一较佳实施例的结构示意图;

附图中各部件的标记如下:1、管体,2、内腔,3、稳流支座,4、稳流板,5、阻流板。
来源声明:以上内容部分(包含图片、文字)来源于网络,如有侵权,请及时与本站联系(+86-15190290101)。
如没特殊注明,文章均为惠泽染机公司原创


当前位置: