染色机用均流型导布管发明介绍
惠泽染色机生产厂家发明公开了一种染色机用均流型导布管,包括:管体,所述管体内设有内腔,所述内腔上设置有多个均流斜块,所述均流斜块的横截面高度逐渐递增,所述均流斜块位于管体出口端的横截面高度大于位于管体进口端的横截面高度,所述均流斜块的上还设置有多个稳流凸块。通过上述方式,本发明染色机用均流型导布管,能够保证管内布匹运行平顺,结构简单,使用稳定,安全可靠。
染色机用均流型导布管
技术领域
本发明涉及染色机领域,特别是涉及一种染色机用均流型导布管。
背景技术
高温高压染色机是指染色温度在130~135℃之间,染色压力在0.3MPa左右的染色机。高温高压染色机包括主筒、导布管和泵,导布管和主筒首尾连通构成了布匹的循环回路。布匹染色漂洗的过程,就是布匹随着被泵驱动的染液水流从导布管到主筒、再从主筒到导布管循环回流的过程。导布管是布匹染色、漂洗的通道之一。现有技术的高温高压染色机的导布管的管腔的横截面为圆形,布匹在导布管内染色漂洗过程中,圆形的导布管容易使得管内的染液水流打旋,导致随着染液水流漂洗的布匹打转起捻甚至打结,这样,布匹染色均匀性差,而且在导布管内运行不平顺。
发明内容
本发明主要解决的技术问题是提供一种染色机用均流型导布管,能够保证管内布匹运行平顺,结构简单,使用稳定,安全可靠。
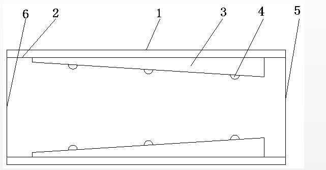
为解决上述技术问题,本发明采用的一个技术方案是:提供一种染色机用均流型导布管,包括:管体,所述管体内设有内腔,所述内腔上设置有多个均流斜块,所述均流斜块的横截面高度逐渐递增,所述均流斜块位于管体出口端的横截面高度大于位于管体进口端的横截面高度,所述均流斜块的上还设置有多个稳流凸块。
在本发明一个较佳实施例中,所述均流斜块的横截面呈梯形,所述均流斜块绕内腔的中心呈间隔均匀分布,所述均流斜块的数量至少为2个。
在本发明一个较佳实施例中,所述稳流凸块均匀间隔分布在均流斜块上,所述稳流凸块为半球形凸块,所述稳流凸块的数量至少为3个。
在本发明一个较佳实施例中,所述管体为内部呈中控状的圆柱形管体,所述内腔的横截面呈圆形。
本发明的有益效果是:本发明染色机用均流型导布管,能够保证管内布匹运行平顺,结构简单,使用稳定,安全可靠。
附图说明
为了更清楚地说明本发明实施例中的技术方案,下面将对实施例描述中所需要使用的附图作简单地介绍,显而易见地,下面描述中的附图仅仅是本发明的一些实施例,对于本领域普通技术人员来讲,在不付出创造性劳动的前提下,还可以根据这些附图获得其它的附图,其中:
图1是本发明染色机用均流型导布管一较佳实施例的结构示意图;
附图中各部件的标记如下:1、管体,2、内腔,3、均流斜块,4、稳流凸块,5、管体出口端,6、管体进口端。
来源声明:以上内容部分(包含图片、文字)来源于网络,如有侵权,请及时与本站联系(+86-15190290101)。
如没特殊注明,文章均为惠泽染机公司原创


当前位置: