液流式自动碱减量机发明
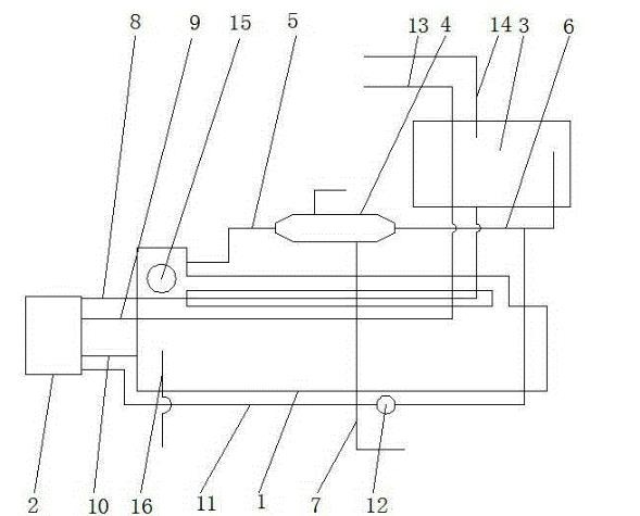
无锡市惠泽染色机生产厂家发明公开了一种液流式自动碱减量机,包括:碱槽、过滤槽、碱液回收槽和热交换器,所述热交换器的一端与碱槽相连通,另一端与碱液回收槽相连通,所述碱槽与过滤槽相连通,所述过滤槽一端与碱液回收槽相连通,另一端连通在碱液回收槽和热交换器之间。通过上述方式,本发明液流式自动碱减量机,能够减少原料消耗,提高效率,结构简单,使用方便,安全可靠。
1.一种液流式自动碱减量机,其特征在于,包括:碱槽、过滤槽、碱液回收槽和热交换器,所述热交换器的一端与碱槽相连通,另一端与碱液回收槽相连通,所述碱槽与过滤槽相连通,所述过滤槽一端与碱液回收槽相连通,另一端连通在碱液回收槽和热交换器之间。
2.所述热交换器通过第一管路与碱槽相连通,通过第二管路与碱液回收槽相连通,所述热交换器上还连接有排水管路。
3.所述过滤槽通过第三管路和第四管路与碱液回收槽相连通,通过第五管路与碱槽相连通,通过第六管路连通道第二管路上,所述第六管路上设置有主栗。
4.所述碱液回收槽上连接有进碱管路和进水管路,所述进碱管路与第四管路相连通。
5.所述碱槽内部设置有提布轮,所述碱槽上还连接有溢流管路。
图1是本发明液流式自动碱减量机一较佳实施例的结构示意图; 附图中各部件的标记如下:1、碱槽,2、过滤槽,3、碱液回收槽,4、热交换器,5、第一管路,6、第二管路,7、排水管路,8、第三关路,9、第四关路,10、第五管路,11、第六管路,12、主栗,13、进碱管路,14、进水管路,15、提布轮,16、溢流管路。
来源声明:以上内容部分(包含图片、文字)来源于网络,如有侵权,请及时与本站联系(+86-15190290101)。
如没特殊注明,文章均为惠泽染机公司原创


当前位置: