一种染色机的摆布系统发明介绍
发布时间:2020-03-28 00:45:00
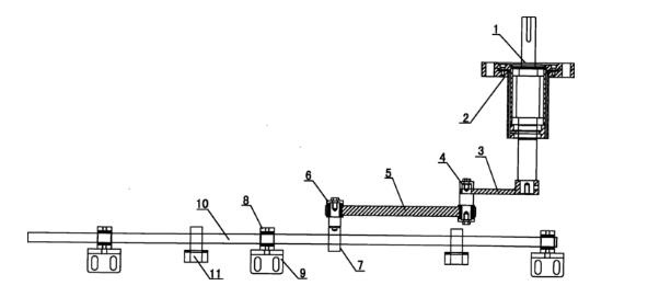
无锡惠泽染色机生产厂家发明公开了一种染色机的摆布系统,包括传动机构、摆布机座、摆布连杆、摆布连接板以及若干摆布导块及摆布滑块,所述传动机构内、外分别设有中心转轴与摆布机座,其中心转轴末端于摆布连杆活动连接并且该杆的另一端与销轴连接;此销轴通过摆布连接板与另一销轴连接,该另一销轴部位下端连接安装于滑轨上的摆布导块,所述滑轨上设有若干摆布滑块。本实用新型有益效果为:结构简单,通过设置机械传动并安装若干摆布导块与滑块,有利于将喷管射出的织物均匀有序的堆积在容器内,这样既能使织物不产生翻乱现象又可最大程度的达到设计容量;其主要优点在于充分利用设备设计容量来提高生产效率。
现无锡惠泽染机公司具有各类专利30项,高新技术产品2个,为江苏省民营科技企业。无锡惠泽染机公司同时被评为无锡市A级重合同守信用企业。“科技创新,诚信共赢”始终贯穿着惠泽的发展史,在今后的发展中,继往开来的惠泽人还将把这个理念继续发扬光大。

来源声明:以上内容部分(包含图片、文字)来源于网络,如有侵权,请及时与本站联系(+86-15190290101)。
如没特殊注明,文章均为惠泽染机公司原创


当前位置: