一种染液横向循环装置发明介绍
发布时间:2020-03-28 01:03:00
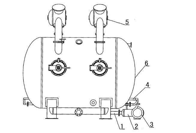
无锡惠泽染色机生产厂家发明公开了一种染液横向循环装置,包括进液管、过滤器、循环泵、出液管与机缸,所述机缸外部设有独立循环泵,该循环泵分别接有进液管与出液管并与机缸内部输送管连通,所述循环泵上装有过滤器。
本实用新型有益效果为:结构设置较为合理,通过外置单独的水泵将部分染液在染缸中与主泵所输送的染液作横向循环运动,使得染料与水达到充分混合,从而使织物不易产生色斑现象,也在很大程度上提高了染液处理时间,使得染色处理均匀。
现无锡惠泽染机公司具有各类专利30项,高新技术产品2个,为江苏省民营科技企业。无锡惠泽染机公司同时被评为无锡市A级重合同守信用企业。“科技创新,诚信共赢”始终贯穿着惠泽的发展史,在今后的发展中,继往开来的惠泽人还将把这个理念继续发扬光大。
来源声明:以上内容部分(包含图片、文字)来源于网络,如有侵权,请及时与本站联系(+86-15190290101)。
如没特殊注明,文章均为惠泽染机公司原创


当前位置: