一种双液流高温高速染色机发明介绍
发布时间:2020-03-28 23:26:00
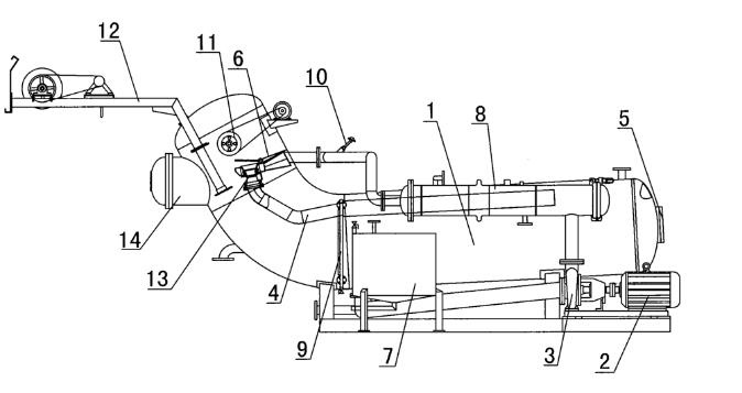
无锡惠泽染色机生产厂家发明公开了一种双液流高温高速染色机,包括染缸体、主泵、化料筒及出布架,染缸体上接有导布管,所述染缸体上部安装换热器,此换热器两端管路上分别装有主泵及测温器,位于主泵一侧装有主泵电机,位于主泵另一侧设置化料筒,位于操作口位置处上方安装出布架并且架体下侧装有提布装置,导布管与染缸体连接端设有堵布装置。本实用新型有益效果为:通过各个结构的依次设置使其功能较为完善,组装简单且易维护;其换热器、堵布以及提布、出布等机构安装稳固有序,工作灵活,同时部件之间的位置连接关系得到了简化,因此在一定程度上提高了生产效率,节约了一定的成本。
现无锡惠泽染色机生产厂家具有各类专利30项,高新技术产品2个,为江苏省民营科技企业。无锡惠泽染机同时被评为无锡市A级重合同守信用企业。“科技创新,诚信共赢”始终贯穿着惠泽的发展史,在今后的发展中,继往开来的惠泽人还将把这个理念继续发扬光大。
来源声明:以上内容部分(包含图片、文字)来源于网络,如有侵权,请及时与本站联系(+86-15190290101)。
如没特殊注明,文章均为惠泽染机公司原创


当前位置: