一种染色机摆布系统的转动机构
发布时间:2020-03-30 23:02:00
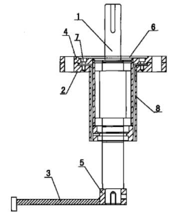
无锡惠泽染色机生产厂家发明公开了一种摆布系统的转动机构,包括传动机构、摆布机座、摆布连杆、外壳体,所述外壳体内部穿入中心转轴并且此中心转轴的下端通过连接组件与摆布连杆连接,外壳体上侧固定摆布机座,此摆布机座上端装有轴承座,所述轴承座上表面铺设带有轴孔的端盖并通过锁紧螺钉固定。本发明有益效果为:结构设置更为合理,可使中心转轴灵活运转以使带动下端的摆布连接杆工作,有利于提高生产效率;机构内的轴承座上部锁紧带有轴孔的端盖,能够避免转轴被异物阻塞、损坏或串位;便于安装维护、可延长使用寿命、能够灵活运转。
来源声明:以上内容部分(包含图片、文字)来源于网络,如有侵权,请及时与本站联系(+86-15190290101)。
如没特殊注明,文章均为惠泽染机公司原创


当前位置: