一种高温高压染色机发明介绍
发布时间:2020-03-30 23:13:00
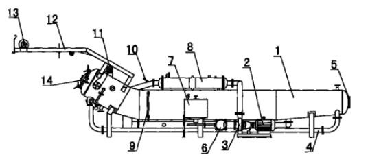
无锡惠泽染色机生产厂家一种高温高压染色机,包括染缸体、主泵、过滤器、化料筒及出布架,所述染缸体前后两端分别设有手孔与操作口,该染缸体上部安装换热器,此换热器两端管路上分别装有主泵及测温器,位于主泵一侧装有主泵电机,位于主泵另一侧设置过滤器,所述过滤器与化料筒连接,位于操作口位置处上方安装出布架并且架体两侧分别装有提布电机与出布电机。本发明有益效果为:通过各个结构的依次设置使其功能较为完善,组装简单且易维护;其换热器、过滤器以及提布、出布等机构安装稳固有序,工作灵活,同时部件之间的位置连接关系得到了简化,因此在一定程度上提高了生产效率,节约了一定的成本;另一方面该染机与同类型的机型相比,具有容量大,浴比低等优点。
来源声明:以上内容部分(包含图片、文字)来源于网络,如有侵权,请及时与本站联系(+86-15190290101)。
如没特殊注明,文章均为惠泽染机公司原创


当前位置: